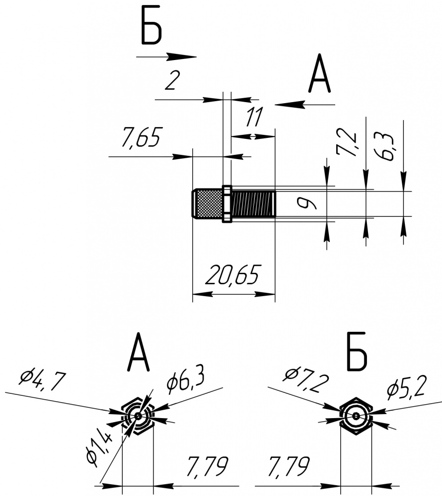
ВЧ разъем SMA - типа, розетка(мама), обжимной, под коаксиальные кабели 5D-FB, LMR-240, LMR-300, RG-8X.
В комплекте идут гайка и шайба.
*Разъем имеет КСВ<2 в частотном диапазоне до 6 ГГц.
В диапазоне от 6 до 12 ГГц КСВ разъема может быть больше 2.
Габариты, вес, количество товара в упаковке:
|
Размеры индивидуальной упаковки (длина , ширина , высота ), мм
|
0
x
0
x
0
|
|
Масса в индивидуальной упаковке, грамм
|
5
|
Разъемы, переходники, аттенюаторы- характеристики:
|
Тип разъема
|
SMA
|
|
Тип кабеля
|
5D-FB
|
|
RG-8X
|
||
|
Тип исполнения
|
Прямой
|
|
Тип монтажа
|
На кабель
|
|
Назначение
|
Розетка (мама)
|
|
Волновое сопротивление
|
50 Ом
|
|
Диэлектрик
|
Тефлон
|
|
Способ заделки оплетки кабеля
|
Обжим
|